簡單來說,美國整車貨運報價是根據運輸距離、貨物重量、體積這些因素決定的,運輸距離越遠運輸成本越高,而體積重量則會影響卡車車型,這意味著需要更大容量的卡車,包裝上也會有所不同。想要了解具體費用的話,可以使用環至美卡派系統來查詢,根據你的貨物信息,系統會匹配出符合運輸的卡車并且給出準確的報價,需要的可以操作試試哦,下面來演示一下吧。
環至美卡派系統:https://kp.huanzhimei.vip/

選擇整車,然后根據表格內容填寫收發貨郵編,取貨時間以及貨物信息,最后點擊獲取報價。

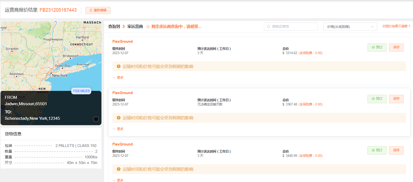
可以看到系統匹配出來的卡車公司,想要了解美國整車貨運報價,點擊更多可以查看。

可以看出,整車貨運的運費成本是有長途運輸費+燃油費組成,如果你也想知道精確的金額可以根據以上步驟來操作哦。
環至美“美國本土”卡車自助平臺鏈接多家美國本土優質卡車服務商,為客戶完成報價、預訂、跟蹤、售后一體化的服務平臺。官網:http://www.arian-art.com/ 熱線:15815826113
免責聲明:個別內容和圖片來源于網絡,本網站轉載僅為分享和交流行業信息,著作權屬原創者所有,如有版權問題請聯系網站管理員刪除。
“環至美,專注美國大件尾程派送,自助叫車,智能比價,快速履約,全程跟蹤!”
掃描二維碼
相關資訊
環至美優秀員工出國獎勵-巴厘島之旅
2025-09-23家人們誰懂啊!當優秀員工的最大快樂,就是能公!費!出!去!玩!
環至美跨境物流公司團建活動圓滿落幕,攜手共進再創輝煌
2025-07-302025年7月25-26日,環至美跨境物流公司在從化的山水間舉行了一場精彩紛呈的團建活動。此次活動不僅是一次放松身心的契機,更是公司全體成員在工作之余加...
重磅消息!6月19號環至美亮相易境通第三屆跨境電商生態大會
2025-06-162025年6月19日(周四),深圳樂薈中心即將迎來一場跨境電商圈的“高能聚會”——易境通第三屆跨境電商生態大會暨海外倉發展論壇。作為行業老朋友,環至美將重...
如何獲取注冊邀請碼?
2025-05-05可能有客戶會疑惑,為什么需要注冊邀請碼呢?怎么獲取呢?下面來給大家解答一下:為什么需要注冊邀請碼?1、減少虛假賬號、廣告商、詐騙賬號混入;2、避免大量錯誤...
五一勞動節放假通知~假期也值班
2025-04-29美國LTL零擔運輸費用查詢全流程(環至美平臺版)
2025-03-21在美國物流運輸中,LTL 零擔運輸因其靈活性和成本優勢,成為中小批量貨物的首選。通過環至美卡車聚合平臺,用戶可高效完成從信息提交到比價下單的全流程操作...